Video Hummus Posted July 26, 2020 Share Posted July 26, 2020 Canon has left hanger sized doors for the competition to walk through. Can Sony do it? Panasonic has almost everything except AF with the S1H. Can they do it? Can anybody do it? Link to comment Share on other sites More sharing options...
thebrothersthre3 Posted July 26, 2020 Share Posted July 26, 2020 4 minutes ago, Video Hummus said: Canon has left hanger sized doors for the competition to walk through. Can Sony do it? Panasonic has almost everything except AF with the S1H. Can they do it? Can anybody do it? Everybody can, no one wants to apparently. Link to comment Share on other sites More sharing options...
Emanuel Posted July 26, 2020 Share Posted July 26, 2020 15 hours ago, Leica50mm said: No, just goes against the back of the camera when the monitor is off to the side . Looks like they knew this was a problem a while ago. Now you can do 50 minute 120 FPS takes ! Why only 50 minute 120 FPS takes? I guess you'll need to stop each 14 minutes and 59 seconds at least before to prevent to keep it rolling... Link to comment Share on other sites More sharing options...
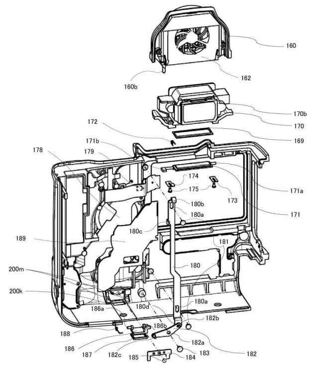
hijodeibn Posted July 26, 2020 Share Posted July 26, 2020 50 minutes ago, thebrothersthre3 said: The cooling kit looks like a good solution. News about R5 and R6 overheating just gets worse and worse. Idiotic move on Canon's part. I've never heard of such bad overheating problems in any camera. Probably soon canon will use their secret weapon and give us a final solution, they already have a patent for a fan that sits over the viewfinder. Link to comment Share on other sites More sharing options...
MrSMW Posted July 26, 2020 Share Posted July 26, 2020 30 minutes ago, thebrothersthre3 said: Everybody can, no one wants to apparently. I find it pretty crazy... Panasonic seems to deliver it all except AF and though size used to be an issue for me, I’m less bothered than I ever have been right now. Sony just needs to bring their ergos into the 21st C and maybe inject a bit of soul into their product line. Fuji just need to iron out some kinks. Nikon just need to up their spec...and look like they are about to. And Canon... Canon just need to stop being complete knobs. The main hybrid contenders anyway... Link to comment Share on other sites More sharing options...
Nezza Posted July 26, 2020 Share Posted July 26, 2020 Sony, Canon and Panny have their pro video cameras to 'protect'. Nikon doesn't so would hypothetically have no reason not to. Emanuel 1 Link to comment Share on other sites More sharing options...
Django Posted July 26, 2020 Share Posted July 26, 2020 I think Sony may win this round. They played it ‘safe’ with no 6K/8K or even oversampling. Just solid 10-bit 4K with hopefully no time record limit. The lowlight, DR & fast readout should give top results. They’re AF is getting better on each generation. Its almost as if the Sony exec bluffed Canon with its “exceeding expectations” remark forcing Canon into an overkill/overheating trap..House of cards style of the imaging game! Link to comment Share on other sites More sharing options...
Kino Posted July 26, 2020 Share Posted July 26, 2020 21 minutes ago, hijodeibn said: Probably soon canon will use their secret weapon and give us a final solution, they already have a patent for a fan that sits over the viewfinder. This Canon patent was filed last year for the 1D body. It might find its way to the next 1DX or perhaps a "1DC II." Still, I would not rule out a new mirrorless flagship ("1RX") or a proper cinema camera to host this 8K RAW implementation. Patience is key. Good things come to those who wait . . . Link to comment Share on other sites More sharing options...
noone Posted July 26, 2020 Share Posted July 26, 2020 It really is a shame! As a stills photography camera it looks really nice. I think Canon needs to immediately release a R5L (light) or maybe R5C (cool) without anything major for video or even if they just leave it with really lovely full HD and that way at least the major part of its target will be happy (and the price should be a lot less). Link to comment Share on other sites More sharing options...
Django Posted July 26, 2020 Share Posted July 26, 2020 ^ those already exist: EOS R/RP. Emanuel 1 Link to comment Share on other sites More sharing options...
Grumble Posted July 26, 2020 Share Posted July 26, 2020 4 hours ago, Video Hummus said: We don’t see shrinking hammers, saws, or power tools. A bit off topic but my 12V power tools beg to differ. I also like that Sony are considering size in the product design and I'm disappointed in how big the grips have been getting on the newer models. Link to comment Share on other sites More sharing options...
Video Hummus Posted July 26, 2020 Share Posted July 26, 2020 9 minutes ago, Grumble said: A bit off topic but my 12V power tools beg to differ. I also like that Sony are considering size in the product design and I'm disappointed in how big the grips have been getting on the newer models. I’ve had multiple cordless impact drivers over 15 years. The size and weight has not changed that much compared to mains powered ones. Link to comment Share on other sites More sharing options...
thebrothersthre3 Posted July 26, 2020 Share Posted July 26, 2020 Toneh chimed in. Some decent information in there. The R5 actually outperformed the XT4 at 60p. The R5 seemed to perform the same in direct sun as it did inside, which is odd. The XT4 overheated quicker outside in direct sun. However apparently the R5 took 2 full hours to cool down. Which is insane! On another note the Canon RP HD video looks horrendous. Link to comment Share on other sites More sharing options...
noone Posted July 26, 2020 Share Posted July 26, 2020 17 minutes ago, Django said: ^ those already exist: EOS R/RP. Yeah but I think this is a MUCH better stills camera. than the RP and probably a fair bit better than the R. It does still shoot 4k after shooting stills, just not HQ so maybe they could leave that there in a lite version. The R forum on a website that should not be named seems to have a lot of people in deep denial. Link to comment Share on other sites More sharing options...
John Matthews Posted July 26, 2020 Share Posted July 26, 2020 Can't overheating be somewhat fixed in firmware? I believe Sony had this problem with several of their cameras. It might not be "safe", but it might be cheaper to repair the ones that break than recall the whole lot and go back to the drawing board. Link to comment Share on other sites More sharing options...
John Matthews Posted July 26, 2020 Share Posted July 26, 2020 10 minutes ago, thebrothersthre3 said: Toneh chimed in. Sorry, I can't stand that guy. The amount of BS that spews from his channel is quite incredible. I said this before, but the waiting time to film again is probably such a deal-breaker for so many people. Also, I don't really even see the point of getting this camera for stills. Apparently, Canon agrees due to them marketing this camera as a 8k video beast. Link to comment Share on other sites More sharing options...
Trankilstef Posted July 26, 2020 Share Posted July 26, 2020 52 minutes ago, Nezza said: Sony, Canon and Panny have their pro video cameras to 'protect'. Nikon doesn't so would hypothetically have no reason not to. You're right about Nikon. But Panasonic gave us a lot more than we thought without protecting that much their cinema camera line of products (EVA-1 mainly) : Varicam color science, 6K, 4k60 (cropped but hey at least it's in there), Full V-Log, best implementation of tiltable screen ever, internal fan to cool down the sensor and internal circuits, dual iso, one of the best IBIS, ProRes RAW, dual card slot, timecode, so many things that made it the first ever and the only mirrorless camera to fullfill the Netflix requierements (wether it means something or not I am not into this debate). I really think that of all the brands Panasonic has always been the one to push the envelope while the others are resting until they're kind of forced to innovate. The only thing now for Panasonic is to change their damn autofocus system ! Otherwise they would be the king of the video centric mirrorless hill ! John Matthews 1 Link to comment Share on other sites More sharing options...
Video Hummus Posted July 26, 2020 Share Posted July 26, 2020 18 minutes ago, noone said: The R forum on a website that should not be named seems to have a lot of people in deep denial. 🤦♂️lots of dopes there. I feel sorry for them. noone 1 Link to comment Share on other sites More sharing options...
noone Posted July 26, 2020 Share Posted July 26, 2020 1 minute ago, Video Hummus said: 🤦♂️lots of dopes there. I feel sorry for them. I have not been a member there for many years but I do like to go visit for a laugh sometimes and there are some members who are serious photographer/scientists that you can learn a lot from (not in THAT particular forum so much though). Link to comment Share on other sites More sharing options...
Nezza Posted July 26, 2020 Share Posted July 26, 2020 13 minutes ago, Trankilstef said: You're right about Nikon. But Panasonic gave us a lot more than we thought without protecting that much their cinema camera line of products (EVA-1 mainly) : They definitely did. Probably came closest so far in terms of hybrids. Decent stills for sure. Canon blew it this gen, Sony's move now. Nikon now an outside chance this round given Canon has now failed. Trankilstef 1 Link to comment Share on other sites More sharing options...
Recommended Posts
Create an account or sign in to comment
You need to be a member in order to leave a comment
Create an account
Sign up for a new account in our community. It's easy!
Register a new accountSign in
Already have an account? Sign in here.
Sign In Now