The drawing above shows what Canon’s rival to the GH5 will look like. It is based on the form factor they introduced with the XC10 but features several ergonomic improvements and an interchangeable lens mount. The lens mount appears to support EF lenses and has a locking mechanism. However there seems to be even more going on with the lens mount than meets the eye.
The patent document is not an easy read, but it describes a new mirrorless camera from Canon aimed at video users.
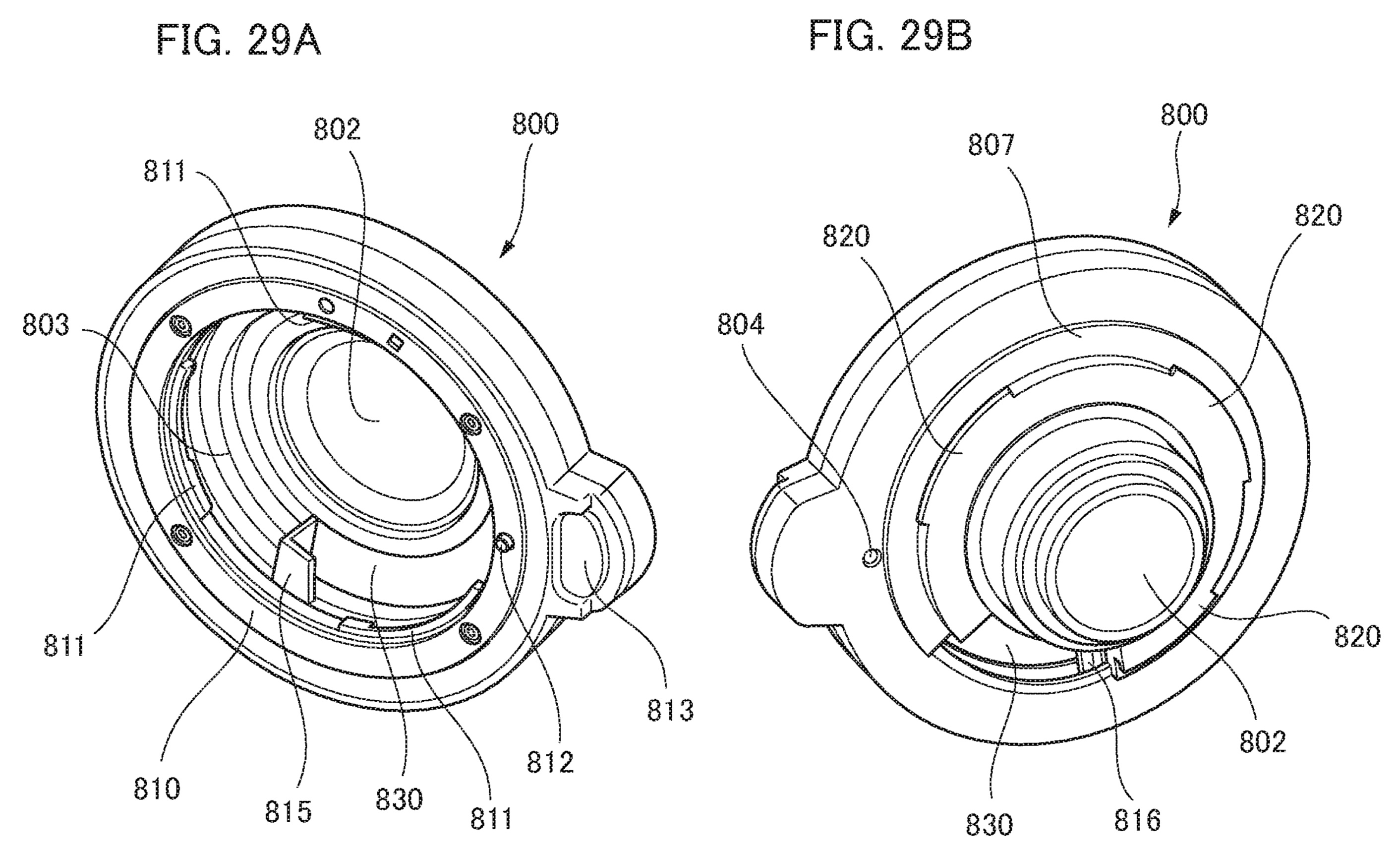
The camera has a mount which takes a special lens adapter. This adapter is quite a thing.
First of all, the camera body has a guide rail which the proprietary Canon adapter slots into, below some electronic contacts.
The adapter has two parts – a positive locking section (like that seen on the C300 Mark II’s EF mount) and what looks like an EF mount that comes apart from that.
The EF mount part appears to be changeable, because it contains different “Speed Booster”-style optics.
The first mount on the camera takes the adapter but it isn’t clear what mount it is. Some have speculated EOS-M. I can’t say for sure.
The locking part on the adapter is also of an unknown kind, maybe special to this particular camera.
The mount that slots into that is clearly EF, with the standard release button and bayonet locking mechanism as found on a Canon DSLR.
Not only that but there appears to be a filter in the mount in one of the drawings which moves out of place in the other. It looks to me like an ND.
In one drawing the whole EF mount appears to rotate (judging by the position of the lens release button) but remains attached. Could it be that you rotate the barrel of the lens to adjust the ND filter? Or maybe I am stretching with that bit?!
Anyway, that’s all good news.
The bad news is that the camera’s sensor seems quite small. In at least one drawing it looks S16mm. This means more noise, less dynamic range, less shallow DOF.
If you remember the original XC10, this was a 2.7x crop camera with 1″ sensor (approximately Super 16). The recent EOS M50 mirrorless model also had a huge 2.7x crop in 4K mode. Getting a proper wide angle shot with EF lenses on that kind of crop is impossible.
Here is the part of the patent that describes a Canon “Speed Booster” similar to the Metabones adapter whose optics are designed by J. Brian Caldwell.
A “Speed Booster” – on a 2.7x crop – could work well. The GH5 is a 2x crop and with the Metabones Speed Booster XL 0.64x brings this camera to 1.28x crop.
That factor of focal reducer on a Super 16 sensor would give us a 1.7x crop – 5D Mark IV style, and quite close to the 1.6x crop of Canon APS-C (EF-S lenses) and the 1.5x of Super 35mm.
It is a bit strange Canon would go to all this effort of Speed Booster adapters when they choose what sensor to put in the camera! Why not just put a larger sensor in it? Certainly looks small to me (item 101)…
The patent also describes the adapter as “moveable to 3 or more positions” and “variable flange distance”. You may reasonably take that to assume the lens adapter has a way to vary the flange distance to support many different lens mounts and / or focal reducer optics (Speed Booster). I think it is just describing the way the EF mount sections pops off – essentially the camera with adapter supports 3 different flange distances to the sensor, the first being the shortest and the middle section taking the EF attachment, which is not the same distance between EOS-M mount and EF mount – it looks to be a quarter of that size and the other part of the adapter makes up the rest of the 44mm to the sensor.
Here is the EF mount popping off the locking mount (which itself comes off the mount on the camera body!) –
And this is the EF mount – with the possible Speed Booster optics –
As for EOS-M lens compatibility, the shortest flange distance to the sensor is at the camera-body side with the adapter taken off, but it appears to be a mysterious and new kind of mount – I can’t tell if it is EOS-M or not from the drawings. I don’t think the EOS-M range as it currently stands is much good for video anyway – not enough fast primes – and none of them wide enough for a small 2.7x crop Super 16mm sensor. You cannot put a Speed Booster focal reducer optic between a mirrorless lens (EOS-M) and sensor, as the lens already sits too close to the sensor, so leaves no room for one.
If this camera has Fuji X-H1 standard 5 axis IBIS and a Super 35mm sensor, with Canon colour and 400Mbit codec, as well as Dual Pixel AF and handles like a miniature C300 Mark II, but with option for an official Canon Speed Booster to make it full frame, then we are game on.
If it is anything less than you can probably forget about it and buy a GH5 or A7 III!







