Jump to content

Is new Barry Lindon's glass coming along in mid-20s, five decades later, on the store shelves, very soon?


Emanuel
 Share

Recommended Posts

image.thumb.png.bfbf4935f1eae41fbf45a6520ed89784.png

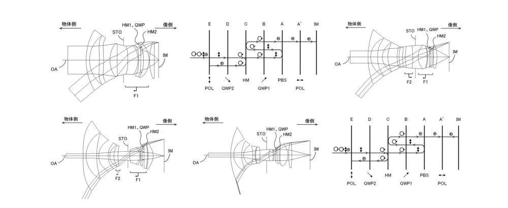
Published by Canon (JP 2025-040484) a month ago... 

«To provide a compact imaging optical system that’s wide and fast.»

The prototype coming (or is it mere proof of concept for patent purposes?) would be for a 24mm f/0.7 from those white papers announcing they have worked out «a long-standing challenge in lens design» but according to Canon rumors, any RF f/1.0 lens is then just arriving around the corner, very likely.

Link to comment
Share on other sites

  • Emanuel changed the title to Is new Barry Lindon's glass coming along in mid-20s, five decades later, on the store shelves, very soon?
EOSHD Pro Color 5 for Sony cameras EOSHD Z LOG for Nikon CamerasEOSHD C-LOG and Film Profiles for All Canon DSLRs

Create an account or sign in to comment

You need to be a member in order to leave a comment

Create an account

Sign up for a new account in our community. It's easy!

Register a new account

Sign in

Already have an account? Sign in here.

Sign In Now
 Share

  • EOSHD Pro Color 5 for All Sony cameras
    EOSHD C-LOG and Film Profiles for All Canon DSLRs
    EOSHD Dynamic Range Enhancer for H.264/H.265
×
×
  • Create New...